
Simple Temperature Sensor Diode 1n4148 Eleccircuit Com
.jpg)
Principle Of Operation Of A Resistance Temperature Detector

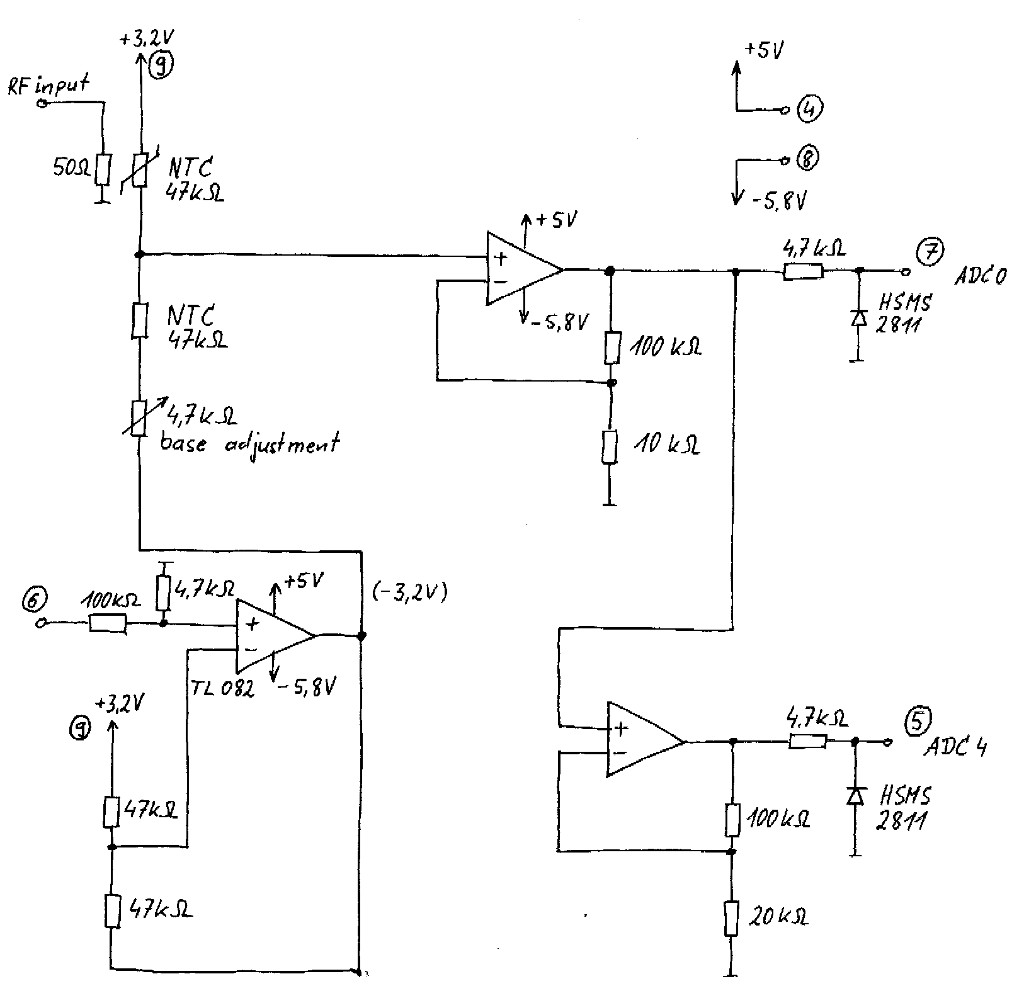
Handheld Rf Power Meters Herbert Dingfelder Dl5neg


Edn Smarter Diode Multiplexing For Temperature Sensing

Selecting Temperature Sensors For System Measurement And

Migrating To The Max6642 From Other Thermal Diode

Raul S Diagrams Collection Heat Sensor Circuit Diagram

Hacktip How To Use A Diode As A Temperature Sensor

Designing With Semiconductor Temperature Sensors

Diode Detector Analog Rf Intgckts

Use A Heated Diode As A Flow Sensor Edn

Types Of Temperature Sensors Digikey
A Novel Ph Sensitive Isfet With On Chip Temperature Sensing

Low Cost Diode Temperature Sensor Open Impulseopen Impulse

Tmp461 Sp Radiation Hardness Assured Rha High Accuracy
Comments
Post a Comment